少兒編程 > 文章資訊 > 3D打印 > 迪士尼為保護正版3D打印產品申請技術專利
迪士尼為保護正版3D打印產品申請技術專利
童程童美 2016-08-29
最近幾天是不是已經被上海的迪士尼樂園刷屏了呢?雖然迪士尼樂園的普通門票價格高達375元,高峰日的票價更是高達499元,但是迪士尼樂園中的童話世界仍讓大量游客涌向迪士尼樂園,門票也因此變得十分緊俏。
摘要最近幾天是不是已經被上海的迪士尼樂園刷屏了呢?雖然迪士尼樂園的普通門票價格高達375元,高峰日的票價更是高達499元,但是迪士尼樂園中的童話世界仍讓大量游客涌向迪士尼樂園,門票也因此變得十分緊俏。
不過迪士尼公司賺錢的門道可不僅是樂園的門票收入。米老鼠、唐老鴨、童話城堡、艾麗絲等家喻戶曉的動畫形象和令人憧憬的童話世界,著實為迪士尼在全球圈足了粉絲,圍繞著這些動畫形象和文化推出的玩具、衣服、紀念品等周邊產品,自然深受廣大迪士尼粉絲的喜愛,同時也為迪士尼公司創造了可觀的收益。迪士尼公司可謂在粉絲經濟上過足了癮。
然而迪士尼公司在享受粉絲經濟的同時也招來了盜版的煩惱。特別是3D打印的玩具,就更加難以識別哪些是正版,哪些是盜版了。迪士尼公司為此申請了一個專利。
3D打印對象被“跟蹤”
3D打印是一種數字化的制造技術,只要有適合3D打印的3D設計文件,使用桌面級的3D打印機就可以制造出塑料玩具了。可以想象,無論是通過3D掃描和專用軟件對正版的玩具進行3D重建,還是使用從非正常渠道流出的原始3D設計文件,都可以“復制”出十分逼真的3D打印玩具。恐怕就連迪士尼的玩具設計師都無法分清哪些是正版的3D打印玩具,哪些是未經授權的復制品了吧?
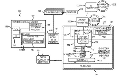
所以迪士尼公司需要一種技術來禁止或限制3D打印機打印未經過授權的復制品。為此迪士尼研發了一項直接在3D打印對象中嵌入ID電子元件的技術,并為該技術申請了專利。該專利目前已經獲得了美國知識產權機構的批準。
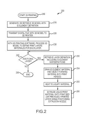
專利中所說的3D打印方式包括創造一個數字文件,該文件定義了即將被3D打印的3D模型。數字文件不僅定義了3D模型的外部形狀,還定義了嵌入到3D對象內部一個或多個打印層中的ID 元件。
專利中描述的ID 元件具有產品信息的識別功能,例如在3D打印過程中將RFID(電子射頻標簽)集成到3D對象中。
每個RFID 標簽具有唯一的電子編碼, 當這種包含了RFID 標簽的3D對象被打印出來之后,通過閱讀器即可讀取或識別3D打印的對象,識別它們的授權情況或者產品碼等數據。這些含有ID 元件的3D對象的打印記錄將被保留在一個中央數據庫中,用于跟蹤每個集成了ID元件的3D對象的打印情況。
用戶可以訪問中央數據庫來識別通過3D打印對象的真實性或者處理ID元件提供的信息。中央數據庫還將允許用戶進行其他操作,例如通過中央數據庫對用戶在網絡中下載的包含ID 元件的3D文件進行授權,允許他們使用自己的3D打印設備進行打印。
