少兒編程 > 文章資訊 > 3D打印 > 洛克希德馬丁正式將鉆石3D打印技術投入研發
洛克希德馬丁正式將鉆石3D打印技術投入研發
童程童美 2016-09-27
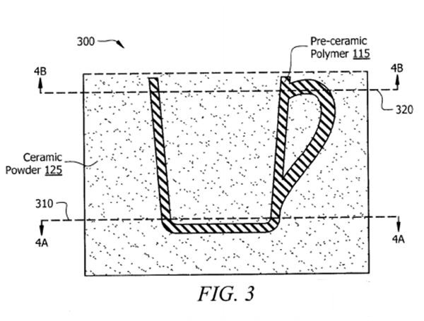
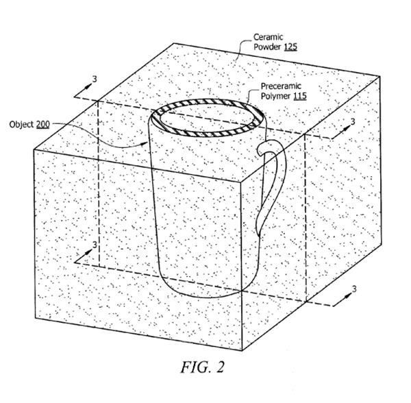
就在不久前,美國航天軍工巨頭洛克希德·馬丁為一種新型的3D打印技術申請了專利,該技術據稱可以打印出任何形狀的人造鉆石對象。據稱該技術將主要用于開發諸如超強鉆頭、輕型裝甲、刀、鋸這樣的工具,不過也可以用來定制珠寶首飾等。
摘要就在不久前,美國航天軍工巨頭洛克希德·馬丁為一種新型的3D打印技術申請了專利,該技術據稱可以打印出任何形狀的人造鉆石對象。據稱該技術將主要用于開發諸如超強鉆頭、輕型裝甲、刀、鋸這樣的工具,不過也可以用來定制珠寶首飾等。
目前,著名航天航天國防公司Lockheed Martin已經打算將這項專利正式投入應用當中。他們采用3D打印技術和合成鉆石,來為人們提供更理想的鉆石。雖然是合成鉆石,但是Lockheed Martin公司采用的鉆石3D打印機幾乎能夠做到與真正的鉆石一致。
據了解,Lockheed Martin公司的3D打印機能夠打造各種復雜的幾何圖形。這或許可以為鉆石市場開拓一個全新的方向,一方面為預算不夠的人提供簡易的低價鉆石,另一方面為土豪們提供高端定制鉆石。雖然鉆石3D打印機的成本會很高,但是這樣有趣的體驗相信會吸引很多的投資商。
