少兒編程 > 文章資訊 > 機器人 > 亞馬遜設想建造巨型無人機塔 加速快遞投遞
亞馬遜設想建造巨型無人機塔 加速快遞投遞
童程童美 2017-06-26
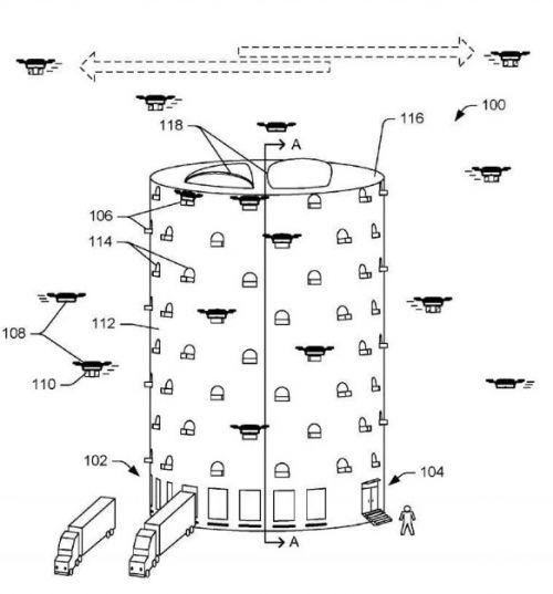
6月23日消息,據國外媒體報道,亞馬遜在無人機送貨方面有一些卓越的想法。這家電子商務巨頭提出了“多層次運營中心”專利申請,允許無人機在城市地區投遞包裹。
摘要6月23日消息,據國外媒體報道,亞馬遜在無人機送貨方面有一些卓越的想法。這家電子商務巨頭提出了“多層次運營中心”專利申請,允許無人機在城市地區投遞包裹。基本上,這聽起來就像是一個巨大的機器人驅動的塔,可以讓無人機在城市周圍運送包裹時方便地進出。
美國專利和商標局于當地時間周四公布的專利申請中,亞馬遜在專利申請中說:“有一種“對于在城市內建立運營中心有不斷增長的需求和愿望,例如在市區和城市人口稠密的地區。”
其他的專利申請,包括無人機的性能和噪音控制。
亞馬遜沒有立即回復記者的置評請求。
當然,專利并不能保證無人機塔成為現實,但亞馬遜近年來一直在追求無人機的交付。
今年3月,該公司的無人機送貨部門亞馬遜Prime Air在美國上市。亞馬遜、UPS、谷歌以及其他一些公司也在開發無人機送貨技術,希望能更快、更便宜地向客戶運送貨物。
